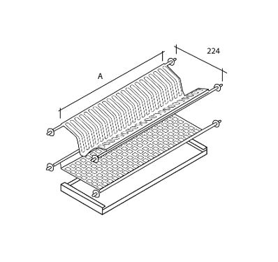
ROOSTEVABA KUIVATUSKAPI SARI 100CM

Tavahind: 146.00
Laoseis: 1tk
ROOSTEVABA KUIVATUSKAPI SARI 100CM
Tootekood: 100RST

AVATUD PAKEND, KILES ((14692))

Küsi rohkem infot: